Вы здесь
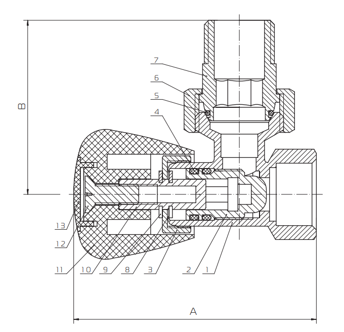
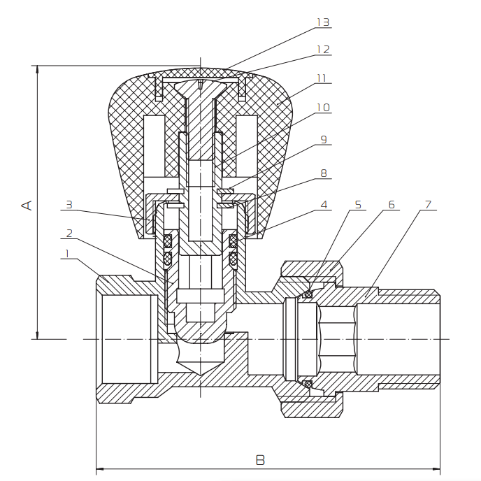
Ручной вентиль RTO
Позволяет осуществлять оперативный контроль за интенсивностью работы отопительного прибора. Благодаря чему в помещении поддерживается заданная комфортная температура.
А за счет точного и своевременного контроля за изменениями окружающей среды возможно снижение до 20% расходов на отопление.
Пригодны для эксплуатации в системах с большой вероятностью образования технического мусора в теплоносителе, так как благодаря конусной конструкции корпус вентиля не забивается.
Технические характеристики
Модель | RTO 50.001 | RTO 50.002 | RTO 50.003 | RTO 50.004 |
Нормативный срок службы (ГОСТ 4.114-84), лет | 25 | 25 | 25 | 25 |
Средний полный ресурс,циклы | 2 500 | 2 500 | 2 500 | 2 500 |
Средняя наработка на отказ, циклы | 1 200 | 1 200 | 1 200 | 1 200 |
Максимальная рабочая температура теплоносителя, °С | 120 | 120 | 120 | 120 |
Краткосрочная температура теплоносителя, °С | 130 | 130 | 130 | 130 |
Максимальное рабочее давление, бар (мПа) | 10 (1,0) | 10 (1,0) | 10 (1,0) | 10 (1,0) |
Рабочие параметры при работе на паре | 0,5 бар/110°С | 0,5 бар/110°С | 0,5 бар/110°С | 0,5 бар/110°С |
Пределы температуры окружающей среды, °С | +5…+55 | +5…+55 | +5…+55 | +5…+55 |
Допустимая влажность окружающей среды, % | 80 | 80 | 80 | 80 |
Расход через закрытый клапан при разности давлений | 0,01 КПа см3/мин 0-5 | 0,01 КПа см3/мин 0-5 | 0,01 КПа см3/мин 0-5 | 0,01 КПа см3/мин 0-5 |
Максимальная температура ручки, °С | +40 | +40 | +40 | +40 |
Крутящий момент на ручку, Нм | Не более 2,0 | Не более 2,0 | Не более 2,0 | Не более 2,0 |
Количество оборотов ручки от положения «закрыто» до положения « открыто» (ГОСТ 10944-97),шт |
4 | 4 | 4 | 4 |
Монтажное положение | любое | любое | любое | любое |
Ремонтопригодность (ГОСТ 10944-97) | ремонтопригоден | ремонтопригоден | ремонтопригоден | ремонтопригоден |
Пропускная способность Kv, м3/час | ||||
1 оборот | 0,71 | 1,65 | 0,58 | 1,55 |
2 оборота | 1,03 | 2,70 | 0,84 | 2,26 |
3 оборота | 1,55 | 4,00 | 1,26 | 3,40 |
4 оборота | 2,15 | 5,60 | 1,75 | 4,70 |
Размер, дюйм | 1/2" | 3/4" | 1/2" | 3/4" |
Вес в сборе, г | 212 | 320 | 224 | 363 |
Размеры А-В, мм | 73-52 | 75-65 | 57-72 | 57-93 |
Элементы конструкции
№ | Составной элемент | Материал | |
1 | Корпус | Латунь CW617N, покрытие никель | |
2 | Золотник | Латунь CW614N | |
3 | Муфта | Латунь CW614N | |
4,5 | Уплотнители O-ring | EPDM Sh 70 | |
6 | Накидная гайка | Латунь CW617N | |
7 | Полусгон | Латунь CW617N | |
8 | Пружинная скоба | Сталь | |
9 | В | Сталь | |
10 | Шестигранный шток | Латунь CW614N | |
11, 13 | Ручка | Пластик ABS | |
12 | Винт | Сталь оцинкованная |