Вы здесь
Смесительный узел УСВК
Смесительный узел УСВК предназначен для плавного регулирования расхода теплоносителя в вентиляционных системах, в которых для нагрева, или охлаждения воздуха используются водяные нагреватели и охладители.
Узел УСВК совместим с канальными нагревателями НКВ, канальными охладителями ОКВ, а так же со всеми встроенными водяными теплообменниками (нагревателями и охладителями) приточных и приточно-вытяжных агрегатов
- Циркуляционный насос;
- Трехходовой кран;
- Электропривод;
- Рециркуляционная перемычка.
Подключение смесительного узела УСВК к водяному контуру
Смесительные узлы УСВК подключаются непосредственно к теплообменнику вентиляционной установки и к гидравлической сети тепло / холодоснабжения при помощи трубопроводов и/или гибких шлангов. В случае соединения элементов гидравлической сети гибкими шлангами, смесительный узел необходимо жестко закрепить к стене и/или к жесткой конструкции.
При установке смесительного узла необходимо обязательно обеспечить горизонтальное положение оси вала мотора, а так же исключить возможность передачи механических нагрузок на УСВК от подключаемых трубопроводов. Подключение к магистрали должно проводиться так, чтобы исключить любые нагрузки, приводящие к механическим повреждениям и нарушению герметичности УСВК.
При подключении трубопроводов обеспечьте доступ для быстрого их отсоединения для проведения плановых и ремонтных работ.
Электрическое подключение должны выполняться лицами, имеющими необходимую квалификацию и допуски. Перед подключением насоса, обеспечьте его заземление. Исключите возможность случайного прикосновения к силовым проводам.
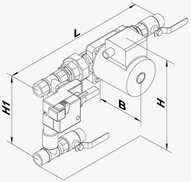
Конструкция смесительного узела УСВК
Технические характеристики смесительного узела УСВК
Параметр | УСВК 3/4-4 | УСВК 3/4-6 | УСВК 1-10 | УСВК 1 1/4-16 | УСВК 1 1/2-25 | ||
Kvs трехходового крана | 4 | 6.3 | 10 | 16 | 25 | ||
Диаметр соединительный | 3/4" | 3/4" | 1' | 1 1/4' | 1 1/2" | ||
Насос циркуляционный | DAB VA65/180 | DAB VA65/180 | DAB A50/180XM | DAB A56/180XM | DAB BPH 120/250.40M | ||
Способ регулирования трехходового крана | Плавное 0…10 V | Плавное 0…10 V | Плавное 0…10 V | Плавное 0…10 V | Плавное 0…10 V | ||
Трехходовой кран с электроприводом | Belimo R317 | Belimo R318 | Belimo R323 | Belimo R331 | Belimo R339G | ||
Привод трехходового крана | Belimo LR24A-SR | Belimo LR24A-SR | Belimo LR24A-SR | Belimo LR24A-SR | Belimo NR24A-SR | ||
Соединение | Резьбовое | Резьбовое | Резьбовое | Резьбовое | Фланцевое | ||
Условный диаметр трехходового крана | DN 20 | DN 20 | DN 25 | DN 32 | DN 40 | ||
Производительность узла максимальная | м³/ч | 2.3 | 3 | 6 | 9 | 14 | |
CFM | 1,3547 | 1,767 | 3,534 | 5,301 | 8,246 | ||
л/с | 0,6394 | 0,834 | 1,668 | 2,502 | 3,892 | ||
м³/c | 0,00064 | 0,00083 | 0,00167 | 0,0025 | 0,00389 | ||
л/м | 38,41 | 50,1 | 100,2 | 150,3 | 233,8 | ||
Развиваемый напор узла максимальный | кПа | 57 | 57 | 57 | 62 | 110 | |
мм ртут.ст. | 0,42921 | 0,42921 | 0,42921 | 0,46686 | 0,8283 | ||
мм вод.ст. | 5,814 | 5,814 | 5,814 | 6,324 | 11,22 | ||
дюйм вод.ст. | 0,22914 | 0,22914 | 0,22914 | 0,24924 | 0,4422 | ||
фунт на дюйм² | 0,00827 | 0,00827 | 0,00827 | 0,00899 | 0,01595 | ||
Температура перемещаемой жидкости, 0С | -10 +110 | -10 +110 | -10 +110 | -10 +110 | -10 +120 | ||
Максимальное содержание гликоля в перемещаемой жидкости, % | 30 | 30 | 30 | 30 | 30 | ||
Количество скоростей насоса | 3 | 3 | 3 | 3 | 3 | ||
Фазность, ˜ | 1 | 1 | 1 | 1 | 1 | ||
Мощность насоса максимальная, Вт | 78 | 78 | 184 | 271 | 510 | ||
Напряжение питания насоса, В | 230 | 230 | 230 | 230 | 230 | ||
Масса, кг | 4.1 | 4.1 | 6.8 | 7.4 | 23 |
Параметр | УСВК 2-40 | УСВК 1-6 | УСВК 1 1/4-10 | УСВК 1 1/2-16 | УСВК 2-25 | ||
Kvs трехходового крана | 40 | 6.3 | 10 | 16 | 25 | ||
Диаметр соединительный | 2" | 1' | 1 1/4' | 1 1/2" | 2" | ||
Насос циркуляционный | DAB BPH 120/280.50T | DAB A50/180XM | DAB A56/180XM | DAB BPH 120/250.40M | DAB BPH 120/280.50T | ||
Способ регулирования трехходового крана | Плавное 0…10 V | Плавное 0…10 V | Плавное 0…10 V | Плавное 0…10 V | Плавное 0…10 V | ||
Трехходовой кран с электроприводом | Belimo R349G | Belimo R322 | Belimo R329 | Belimo R338 | Belimo R348 | ||
Привод трехходового крана | Belimo NR24A-SR | Belimo LR24A-SR | Belimo LR24A-SR | Belimo NR24A-SR | Belimo NR24A-SR | ||
Соединение | Фланцевое | Резьбовое | Резьбовое | Фланцевое | Фланцевое | ||
Условный диаметр трехходового крана | DN 50 | DN 25 | DN 32 | DN 40 | DN 50 | ||
Производительность узла максимальная | м³/ч | 27 | 4.1 | 6.8 | 11 | 21 | |
CFM | 15,903 | 2,4149 | 4,0052 | 6,479 | 12,369 | ||
л/с | 7,506 | 1,1398 | 1,8904 | 3,058 | 5,838 | ||
м³/c | 0,00751 | 0,00114 | 0,00189 | 0,00306 | 0,00584 | ||
л/м | 450,9 | 68,47 | 113,56 | 183,7 | 350,7 | ||
Развиваемый напор узла максимальный | кПа | 115 | 57 | 62 | 110 | 115 | |
мм ртут.ст. | 0,86595 | 0,42921 | 0,46686 | 0,8283 | 0,86595 | ||
мм вод.ст. | 11,73 | 5,814 | 6,324 | 11,22 | 11,73 | ||
дюйм вод.ст. | 0,4623 | 0,22914 | 0,24924 | 0,4422 | 0,4623 | ||
фунт на дюйм² | 0,01668 | 0,00827 | 0,00899 | 0,01595 | 0,01668 | ||
Температура перемещаемой жидкости, 0С | -10 +120 | -10 +110 | -10 +110 | -10 +120 | -10 +120 | ||
Максимальное содержание гликоля в перемещаемой жидкости, % | 30 | 30 | 30 | 30 | 30 | ||
Количество скоростей насоса | 3 | 3 | 3 | 3 | 3 | ||
Фазность, ˜ | 3 | 1 | 1 | 1 | 3 | ||
Мощность насоса максимальная, Вт | 898 | 184 | 271 | 510 | 898 | ||
Напряжение питания насоса, В | 400 | 230 | 230 | 230 | 400 | ||
Масса, кг | 31 | 6.8 | 7.4 | 23 | 31 |
Габаритные размеры смесительного узела УСВК
Размеры, мм | B | H | H1 | L |
УСВК 3/4-4 | 150 | 290 | 180 | 460 |
УСВК 3/4-6 | 150 | 290 | 180 | 460 |
УСВК 1-10 | 175 | 320 | 210 | 490 |
УСВК 1 1/4-16 | 175 | 355 | 240 | 500 |
УСВК 1 1/2-25 | 266 | 420 | 255 | 610 |
УСВК 2-40 | 312 | 474 | 290 | 660 |
УСВК 1-6 | 175 | 320 | 210 | 490 |
УСВК 1 1/4-10 | 175 | 355 | 240 | 500 |
УСВК 1 1/2-16 | 266 | 420 | 255 | 610 |
УСВК 2-25 | 312 | 474 | 290 | 660 |