Вы здесь

Клапан обратный наружный вентиляционный КЛОН 

Наружный обратный клапан для вентиляции КЛОН используется для автоматического перекрытия сечения воздушного канала при выключенном вентиляторе.

Данный тип обратного клапана монтируется вертикально снаружи системах со скоростью потока воздуха не более 12 м/с.

Конструкция клапана КЛОН

Клапан состоит из:

  • корпуса;
  • установленных в корпусе на осях пластиковых лопаток;
  • створки изогнутой формы створок создают дополнительную направленную силу для уменьшения аэродинамическое сопротивление.

Условие эксплуатации клапанов КЛОН

  • Вид климатического исполнения клапанов - У1 согласно ГОСТ 15150.
  • Допустимая температура перемещаемого воздуха от - 40°С до +60°С.

Маркировка КЛОН

  1. КЛОН: Клапан обратный наружный
  2. Типоразмер, см (по прямоугольному присоединительному сечению ВхН)

Габаритные и присоединительные размеры и устройство клапанов КЛОН

Модель Размеры, мм Масса, кг
B H
КЛОН-30-15 300 150 0,8
КЛОН-40-20 400 200 1,3
КЛОН-50-25 500 250 2,2
КЛОН-50-30 500 300 2,7
КЛОН-60-30 600 300 3,2
КЛОН-60-35 600 350 3,5
КЛОН-70-40 700 400 4,2
КЛОН-80-50 800 500 5,0
КЛОН-90-50 900 500 5,8
КЛОН-100-50 1000 500 6,8

Клапан обратный наружный вентиляционный КЛОН - 2

Диаграмма падения давления для клапанов КЛОН

Клапан обратный наружный вентиляционный КЛОН - 3

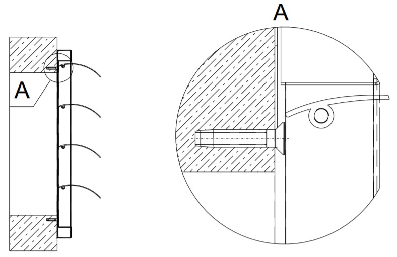
Монтаж и присоединение клапанов КЛОН

Клапаны КЛОН монтируются на строительные конструкции в месте выхода вентиляционного канала с помощью винтового соединения.

Клапан обратный наружный вентиляционный КЛОН - 4

Назад к списку