Вы здесь
Шумоглушитель крышный SSG/F
Крышный шумоглушитель SSG/F используется в случаях, когда предъявляются повышенные требования по уровню шума на притоке. Шумоглушитель предназначен для монтажа на плоские крыши.
Используется с вентиляторами типа DVG-H, DVG-V
Особенности шумоглушителя SSG/F
- Звукопоглощение составляет 8 дБ при 250 Гц;
- Изготавливается из алюцинковой листовой стали;
- Изоляция из минеральной ваты с текстильной прокладкой;
- Изоляция на боковых стенках толщиной 40 мм защищена дополнительной металлической решеткой;
- Гушители поставляются в комплекте с гайками на дне для присеодинения к другим элементам;
- В поставку входят высокотемпературные прокладки для установки между гушителем и вентилятором;
- Звукопоглощающий материал устойчив к износу при скорости воздушного потока до 20 м/сек.
Аэродинамические характеристики шумоглушителя SSG/F
Шумовые характеристики шумоглушителя SSG/F
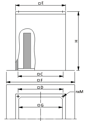
Габаритные размеры шумоглушителя SSG/F
Модель | C | D | E | F | G | nxM | H | кг |
SSG/F 315/355 | 468 | 450 | 562 | 874 | 472 | 4xM10 | 650 | 41 |
SSG/F 400/450 | 534 | 535 | 628 | 900 | 538 | 4xM10 | 650 | 46 |
SSG/F 500/560 | 806 | 750 | 898 | 1147 | 808 | 4xM10 | 700 | 72 |
SSG/F 630 | 894 | 840 | 990 | 1300 | 898 | 4xM10 | 800 | 90 |
SSG/F 800 | 1120 | 1050 | 1210 | 1540 | 1120 | 4xM10 | 1010 | 115 |
Назад к списку