Вы здесь
Шумоглушитель SMRF
Шумоглушитель SMRF предназначен для круглых воздуховодов для понижения уровни шума распространяющего от источника шума.
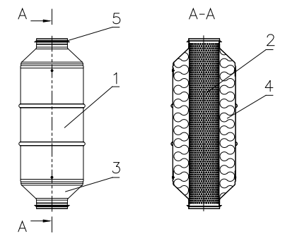
Глушитель состоит из внешнего корпуса и внутренней перфорированной трубы. Пространство между ними заполнено минеральной ватой с акустическими и теплоизоляционными свойствами.
Внутренняя перфорированная труба изготовлена из оцинкованного стального листа и покрыта нетканым материалом.
Глушитель закрыт 2 редукторами из оцинкованного листа.
Особенности шумоглушителя SMRF
- Диаметры соединений от 80 до 500 мм;
- Ниппельные уплотнитель;
- Испытания в соответствии с EN 1366-1, EN 12237;
- SMR - это не огнестойкий вариант от SMR;
- Максимальный перепад давления 1 500 Па;
- Максимальная скорость в сечении 12 м/с;
- Огнестойкость в соответствии с EN 13501-3 + A1 в диапазоне от EI30 Без защитного расстояния;
- Толщина изоляции 50 мм.
Конструкция шумоглушителя SMRF
- Внешний листовой кожух;
- Внутренний листовой кожух;
- Редукторы;
- Акустический поглотитель;
- Манжетное уплотнение.
Габаритные размеры шумоглушителя SMRF
Модель | D, мм | D1, мм | L, мм | Вес, кг |
SMRF 80/300 | 80 | 160 | 300 | 1,5 |
SMRF 80/600 | 80 | 160 | 600 | 3,4 |
SMRF 100/300 | 100 | 200 | 300 | 2,3 |
SMRF 100/600 | 100 | 200 | 600 | 4,5 |
SMRF 100/900 | 100 | 200 | 900 | 6,6 |
SMRF 125/300 | 125 | 250 | 300 | 2,8 |
SMRF 125/600 | 125 | 250 | 600 | 5,5 |
SMRF 125/900 | 125 | 250 | 900 | 8,0 |
SMRF 160/300 | 160 | 280 | 300 | 3,1 |
SMRF 160/600 | 160 | 280 | 600 | 6,3 |
SMRF 160/900 | 160 | 280 | 900 | 8,8 |
SMRF 200/600 | 200 | 315 | 600 | 7,4 |
SMRF 200/900 | 200 | 315 | 900 | 10,8 |
SMRF 200/1200 | 200 | 315 | 1200 | 14,2 |
SMRF 250/600 | 250 | 355 | 600 | 8,6 |
SMRF 250/900 | 250 | 355 | 900 | 12,5 |
SMRF 250/1200 | 250 | 355 | 1200 | 16,3 |
SMRF 315/600 | 315 | 450 | 600 | 11,7 |
SMRF 315/900 | 315 | 450 | 900 | 16,6 |
SMRF 315/1200 | 315 | 450 | 1200 | 21,5 |
SMRF 400/900 | 400 | 500 | 900 | 19,5 |
SMRF 500/900 | 500 | 600 | 900 | 23,9 |
Технические характеристики шумоглушителя SMRF
D ,мм | L, мм | Ослабление | |||||||
63 Гц | 125 Гц | 250 Гц | 500 Гц | 1000 Гц | 2000 Гц | 4000 Гц | 8000 Гц | ||
80 | 300 | 1 | 1 | 9 | 16 | 18 | 26 | 29 | 25 |
80 | 600 | 2 | 10 | 18 | 27 | 34 | 39 | 29 | 34 |
100 | 300 | 1 | 4 | 10 | 13 | 17 | 23 | 25 | 14 |
100 | 600 | 1 | 4 | 12 | 24 | 33 | 29 | 27 | 28 |
100 | 900 | 1 | 13 | 20 | 32 | 43 | 31 | 30 | 33 |
125 | 300 | 2 | 4 | 10 | 12 | 15 | 23 | 21 | 14 |
125 | 600 | 1 | 5 | 16 | 22 | 30 | 35 | 27 | 18 |
125 | 900 | 2 | 6 | 17 | 31 | 36 | 38 | 32 | 17 |
160 | 300 | 0 | 4 | 6 | 8 | 11 | 17 | 16 | 13 |
160 | 600 | 1 | 6 | 9 | 15 | 24 | 29 | 21 | 12 |
160 | 900 | 2 | 8 | 12 | 20 | 37 | 36 | 29 | 20 |
200 | 600 | 1 | 6 | 9 | 12 | 20 | 25 | 16 | 10 |
200 | 900 | 2 | 8 | 10 | 21 | 34 | 31 | 21 | 15 |
200 | 1200 | 3 | 9 | 16 | 30 | 36 | 39 | 25 | 18 |
250 | 600 | 1 | 2 | 9 | 13 | 21 | 23 | 9 | 8 |
250 | 900 | 2 | 2 | 10 | 20 | 27 | 32 | 11 | 10 |
250 | 1200 | 2 | 8 | 12 | 21 | 34 | 34 | 16 | 12 |
315 | 600 | 0 | 2 | 7 | 9 | 15 | 21 | 8 | 6 |
315 | 900 | 1 | 2 | 7 | 14 | 21 | 25 | 13 | 8 |
315 | 1200 | 3 | 6 | 11 | 21 | 26 | 29 | 14 | 12 |
400 | 900 | 2 | 3 | 6 | 13 | 20 | 16 | 9 | 7 |
500 | 900 | 3 | 4 | 5 | 12 | 17 | 14 | 9 | 8 |