Вы здесь
Фильтр гопкалитовый ФГ-70
Фильтр ФГ-70 (гопкалитовый фильтр) входит в состав комплекта ФВК-2 и используется для очистки поступающего воздуха от угарного газа в условиях задымления, вызванного пожарами и другими чрезвычайными ситуациями.
Также его применяют в III режиме вентиляции для создания избыточного давления воздуха в убежищах.
Фильтр ФГ-70 эффективно функционирует при температуре окружающей среды от -50 °C до +60 °C и при относительной влажности воздуха до 95%.
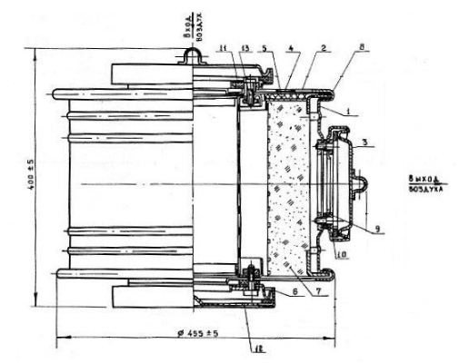
Основные комплектующие и принцип работы
Основными комплектующими фильтров-поглотителей ФГ-70 являются: корпус 1, крышка верхняя 2, заглушка 3, табличка 4, подушка 5, кольцо ниппельное 6, катализатор 7, кольцо закатное большое 8, кольцо 9, ниппель штампованный 10, прокладка 11, донышко 12, винт 13.

- Корпус
- Крышка верхняя
- Заглушка
- Табличка
- Подушка
- Кольцо ниппельное
- Катализатор
- Кольцо закатное большое
- Кольцо
- Ниппель штампованный
- Прокладка
- Донышко
- Винт
В процессе работы фильтра-поглотителя ФГ-70 внешний воздух поступает в торцевое отверстие фильтра, проходит через катализатор, очищается от окиси углерода и выходит через боковое отверстие.
Максимальный результат очистки наружного воздуха от окиси углерода достигается при температуре воздуха на входе в фильтр ФГ-70 не ниже +60С.
Температура воздуха на выходе из фильтра-поглотителя ФГ-70, в зависимости от температуры воздуха на входе в фильтр, может достигать 300С, поэтому его требуется охладить в специальном воздухоохладителе, например, в гравийном.
Технические характеристики ФГ-70
| Параметр | Значение |
| Расход воздуха, м3/ч | 70 |
| Сопротивление, Па (кгс/м2), не более | 245,2 (25) |
| Степень не герметичности: коэффициент подсоса, не более | 0,1 |
| Температура воздуха на выходе, на менее плюс С° | 60 |
| Габариты: диаметр, мм | 455±5 |
| Габариты: высота, мм | 400±5 |
| Масса, кг, не более | 50 |
Комплектность ФГ-70
Фильтры собираются в колонки из одного, двух и трех штук (ФГ-70-1, ФГ-70-2 и ФГ-70-3 соответственно). Перед и в конце колонки фильтров должны устанавливаться герметические клапаны Ду-200П.
Клапан Ду-200П предназначен для отключения фильтра ФГ-70 от наружной атмосферы с целью исключить попадание влажного воздуха в фильтр, вызывающего отравление катализатора и выход его из строя.
Комплектность ФГ-70 зависит от того, из какого количества фильтров будет собрана колонка. Для этого при заказе фильтра-поглотителя ФГ-70 необходимо уточнять количество их в колонке.
Назад к списку



