Вы здесь
Фильтры-поглотители ФП-300, ФП-300-1, ФП-300-А
Фильтр-поглотитель ФП-300 предназначен для очистки воздуха, подаваемого на объекты, от токсичных веществ, радиоактивной пыли, аэрозолей, а также от ядовитых и нейтральных дымов и биологических агентов.
Модель ФП-300-1 дополнительно очищает воздух от паров органических соединений радиоактивного йода.
ФП-300А разработан для фильтрации паров люизита при их концентрации до 0,002% по объему.
Фильтры-поглотители ФП-300, ФП-300-1 и ФП-300А поставляются с комплектующими, которые позволяют собрать установки с одним, двумя или тремя фильтрами. В зависимости от расположения установки на объекте и схемы подключения к вентиляции, в комплекте предусмотрены элементы для соединения через верхнее или нижнее входное отверстие фильтра.
Данные фильтры могут работать при температуре воздуха от -50 °C до +50 °C и относительной влажности до 95%, при условии отсутствия капельной влаги.
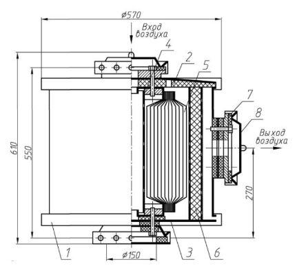
Основные комплектующие и принцип работы
Фильтры-поглотители ФП-300, ФП-300-1, ФП-300-А представляют собой металлический корпус 1 (см. рис. 1) цилиндрической формы с крышкой 2 и дном 3. В них находятся три отверстия диаметром 150мм: два торцевых – для входа, одно боковое – для выхода воздуха. Отверстия для входа и выхода воздуха перекрыты прокладками 7 и заглушками 8. Во внутренней части корпуса между торцевыми отверстиями находится каркас фильтра 4, вокруг которого размещен противодымный фильтр 5, а между двумя цилиндрическими сетками – поглотитель 6.

- Корпус
- Крышка
- Дно
- Каркас фильтра
- Фильтр противодымный
- Поглотитель
- Кольцо ниппельное (прокладка)
- Заглушка с ручкой
При работе фильтров ФП-300, ФП-300-1, ФП-300-А внешний воздух поступает в торцевое отверстие фильтра-поглотителя, проходит через противодымный фильтр 5, который проводит очистку воздуха от радиоактивной пыли, дыма и бактериальных аэрозолей, затем проходит через поглотитель 6, очищается от паров отравляющих веществ и выходит через боковое отверстие.
Воздух может подаваться как сверху, так и снизу, в зависимости от присоединения к системе вентиляции. Выход воздуха может быть направлен в любую сторону относительно фильтров-поглотителей ФП-300, ФП-300-1, ФП-300-А.
Фильтры формируются в колонки из одного, двух и трех штук (ФП -300-300, ФП-300-600, ФП-300-900). До и после колонки фильтров должны размещаться герметические клапаны (тип КГ).
Фильтры-поглотители ФП-300, ФП-300-1, ФП-300-А поставляются как отдельно, так и в комплекте с монтажными деталями. Состав монтажных деталей зависит от того, из какого количества фильтров будет составлена колонка. Поэтому при составлении заказа на приобретение фильтров-поглотителей ФП-300, ФП-300-1, ФП-300-А.
Необходимо указывать количество их в колонке.
Колонки могут эксплуатироваться в двух вариантах: под разряжением или под давлением. При работе под разряжением колонки размещают в помещении, не содержащим в воздухе отравляющих веществ, радиоактивной пыли и бактериальных аэрозолей, то есть внутри убежища (в «чистой зоне»). При работе под давлением их монтируют в специальной зоне, вне обитаемых отсеков защитного сооружения.
Монтируя колонки из двух или трех фильтров-поглотителей надо соблюдать условие: разница по сопротивлению между фильтрами-поглотителями должна быть не более 10 мм вод. ст.
Технические характеристики ФП-300
| Наименование | Объемный расход воздуха через фильтр, м3/ч | Подсоединение к системе вентиляции | Катализатор | Сопротивление Па (мм вод. ст.), не более |
| ФП-300-300 | 300 | верхнее | К-5М | 835 (85) |
| ФП-300-600 | 600 | |||
| ФП-300-900 | 900 | |||
| ФП-300-300Н | 300 | нижнее | ||
| ФП-300-600Н | 600 | |||
| ФП-300-900Н | 900 |
| Наименование составных частей | ФП-300-300 | ФП-300-300Н | ФП-300-600 | ФП-300-600Н | ФП-300-900 | ФП-300-900Н |
| Фильтр-поглотитель ФП-300 | 1 | 1 | 2 | 2 | 3 | 3 |
| Патрубок угловой II | 1 | 1 | 1 | 1 | 1 | 1 |
| Стакан I | 1 | - | 1 | - | 1 | - |
| или стакан нижний | - | 1 | - | 1 | - | 1 |
| Тройник II | - | - | 1 | 1 | 2 | 2 |
| Хомут стяжной 4 | 4 | 4 | 6 | 6 | 8 | 8 |
| Муфта ФП 150х198х6 | 2 | 2 | 3 | 3 | 4 | 4 |
| Параметр | Единица измерения | Значение |
| Номинальный объемный расход воздуха | м3/ч | 300 |
| Сопротивление постоянному потоку воздуха | Па (кгс/м2) | 835 (85) |
| Степень негерметичности (коэффициент подсоса), не более | % | 0,1 |
| Габариты: диаметр | мм | 580 |
| Габариты: высота | мм | 550 |
| Масса | кг | - |



