Вы здесь
Задвижка из нержавеющей стали 30нж41нж
Рабочая среда для задвижки 30нж41нж : природный газ влажный, нефтепродукты с содержанием сероводорода до 0,1%, жидкие и газообразные нефтехимические продукты, в которых скорость коррозии нержавеющей стали не более 0,2 мм/год.
Технические характеристики 30нж41нж
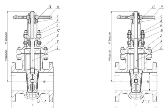
- Таблица фигура: 30нж41нж
- Усл. обозн.: ЗКЛ2-16
- Исполнение: Затвор - сплошной или двухдисковый клин
- Материал Корпуса: сталь 12Х18Н9ТЛ
- Присоединение: фланцевое по ГОСТ 12815-80 (исп.1, ряд 2)
- Тип Давления: N
- Pmax: 16
- Tmax: 565
- Тип: Задвижки
- Тип управления: ручное
Исполнение и материалы задвижки 30нж41нж
- Корпус: 12Х18Н9ТЛ
- Крышка: 12Х18Н9ТЛ
- Клин (диски): 12Х18Н9ТЛ
- Шпиндель: 12Х18Н9Т
- Гайка шпинделя: латунь ЛС59—1
- Гайка: 12Х18Н9Т
- Шпилька, болт: 45Х14Н14В2М
- Болт откидной: 45Х14Н14В2М
- Уплотнение между корпусом и крышкой (прокладка, кольцо): ТРГ
- Набивка сальника: ТРГ
- Маховик: сталь 25Л
- Наплавка на кольце в корпусе: 04Х19Н9С2
Габаритные размеры 30нж41нж
Диаметр, мм | L, мм | D, мм | D1, мм | n | d, мм | H, мм | H1, мм | DO | DOпр. | Масса, кг |
50 | 180 | 160 | 125 | 4 | 18 | 291 | 349 | 160 | — | 17 |
80 | 210 | 195 | 160 | 4 | 18 | 336 | 419 | 160 | — | 29 |
100 | 230 | 215 | 180 | 8 | 18 | 385 | 485 | 210 | — | 39 |
125 | 255 | 245 | 210 | 8 | 18 | 470 | 600 | 210 | — | 61 |
150 | 280 | 280 | 240 | 8 | 22 | 558 | 709 | 320 | — | 83 |
200 | 330 | 335 | 295 | 12 | 22 | 685 | 892 | 320 | — | 124 |
250 | 450 | 405 | 355 | 12 | 26 | 854 | 1110 | 400 | — | 242 |
300 | 500 | 460 | 410 | 12 | 26 | 1000 | 1307 | 460 | — | 315 |
350 | 550 | 520 | 470 | 16 | 26 | 1220 | 1570 | 460 | — | 465 |
400 | 600 | 580 | 525 | 16 | 30 | 1440 | 1850 | 502 | — | 640 |