Вы здесь
Задвижка стальная клиновая 30с15нж
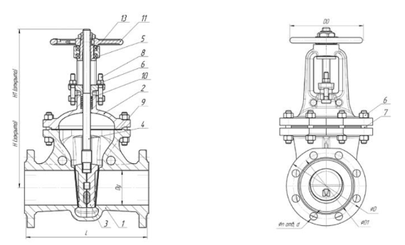
Задвижка стальная клиновая с выдвижным шпинделем фланцевая 30с15нж.
Рабочая среда для задвижки 30с15нж : вода, пар, масло, нефть, природный газ, жидкие неагрессивные нефтепродукты, неагрессивные жидкие и газообразные среды, по отношению к которым, материалы применяемые в задвижке коррозионностойкие.
Технические характеристики 30с15нж
- Температура рабочей среды: от -40°С до +450°С
- Условия эксплуатации: У1
- Минимальная температура окружающего воздуха: -40°С
- Тип управления : ручное
Исполнение и материалы задвижки 30с15нж

- Корпус: сталь 25Л
- Крышка: сталь 25Л
- Клин (диски): сталь 25Л
- Шпиндель: 20Х13
- Гайка шпинделя: латунь ЛС59-1
- Гайка: углеродистая сталь ГОСТ 1050-88 класс прочности не ниже 5 по ГОСТ 1759.5-87
- Шпилька, болт: углеродистая сталь ГОСТ 1050-88 класс прочности не ниже 5.6 по ГОСТ 1759.5-87
- Болт откидной или анкерный: сталь 35
- Уплотнение между корпусом и крышкой (прокладка, кольцо): ТРГ
- Набивка сальника : ТРГ
- Маховик: сталь 25Л
- Наплавка на кольце в корпусе: 07Х25Н13, 08Х21Н10Г6
- Наплавка на клине: 13Х25Т, 10Х17Т
Габаритные размеры 30с15нж
| Диаметр, мм | L, мм | D, мм | D1, мм | n | d, мм | H, мм | H1, мм | D0, мм | Масса, кг |
| 50 | 250 | 160 | 125 | 4 | 18 | 355 | 410 | 160 | 20 |
| 80 | 310 | 195 | 160 | 8 | 18 | 430 | 515 | 160 | 39 |
| 100 | 350 | 215 | 190 | 8 | 22 | 460 | 565 | 210 | 61 |
| 150 | 450 | 280 | 250 | 8 | 26 | 640 | 810 | 320 | 120 |
| 200 | 419 | 375 | 320 | 12 | 30 | 825 | 1020 | 320 | 156 |
| 250 | 457 | 445 | 385 | 12 | 33 | 980 | 1250 | 320 | 260 |
| 300 | 500 | 485 | 430 | 16 | 33 | 1360 | 1700 | 480 | 285 |
| 400 | 600 | 665 | 585 | 16 | 39 | 1580 | 2020 | 560 | 750 |



