Вы здесь
Задвижка стальная клиновая 30с41нж
Задвижка 30с41нж представляет собой тип запорной арматуры, используемой на различных трубопроводах.
Основное применение она находит в системах перекачки нефтепродуктов, что делает ее важным элементом при строительстве и эксплуатации автозаправочных станций. Эта задвижка служит для разобщения и перекрытия между резервуарами, обеспечивая надежное гидравлическое сопротивление при работе с нефтепродуктами.
Кроме того, 30с41нж может применяться для работы с другими веществами, такими как вода, пар и газ. Задвижка выпускается в двух вариантах: параллельном и клиновом. В параллельной версии уплотнительные кольца расположены параллельно, а в клиновой — под углом, формируя клин. Клиновые задвижки обычно считаются более функциональными.
Благодаря своей простой конструкции, задвижка 30с41нж отличается высокой надежностью и долговечностью, даже при работе на трубопроводах с высоким потоком среды.
Данная задвижка может применяться на трубопроводах для передачи:
- холодной и горячей воды;
- воздуха;
- пара;
- нефти и продуктов ее переработки;
- природного газа;
- аммиака;
- других жидких и газообразных сред, не агрессивных к материалам, из которых изготовлена задвижка (сталь, паронит , набивка сальниковая ТРГ).
Особенности монтажа и эксплуатации задвижки 30с41нж:
К монтажу и обслуживанию (ремонту) задвижек допускаются лица:
- знакомые с устройством и правилами эксплуатации данного запорного узла;
- прошедшие инструктаж по технике безопасности и проверку знаний по безопасным приемам работы;
- снабженные необходимым инструментом и спецодеждой.
Запрещается использовать задвижку для регулирования напора рабочей среды: шпиндель дожжен быть либо полностью поднят, либо полностью перекрыт.
Перед началом монтажных или ремонтных работ необходимо снять давление в трубопроводе и освободить его от остатков рабочего вещества. Техническое обслуживание задвижки (осмотры, проверки работоспособности и герметичности) следует проводить вовремя в соответствии с графиком регламентных работ. Этим достигается длительный безаварийный срок службы самой задвижки и трубопровода в целом.
Исполнение и материалы задвижки 30с41нж

- Корпус: сталь 25Л
- Крышка: сталь 25Л
- Клин (диски): сталь 25Л
- Шпиндель: 20Х13
- Гайка шпинделя: сталь 45
- Гайка: углеродистая сталь ГОСТ 1050—88 класс прочности не ниже 5 по ГОСТ 1759.5—87
- Шпилька, болт: углеродистая сталь ГОСТ 1050—88 класс прочности не ниже 5.6 по ГОСТ 1759.5—87
- Болт откидной: сталь 35
- Уплотнение между корпусом и крышкой (прокладка, кольцо): паронит, ТРГ
- Набивка сальника: АГИ, ТРГ
- Маховик: сталь 25Л
- Наплавка на кольце в корпусе: 07Х25Н13, 08Х21Н10Г6
- Наплавка на клине: 13Х25Т, 10Х17Т
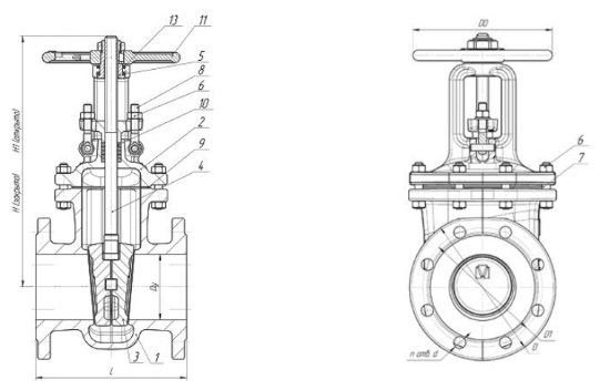
Габаритные размеры 30с41нж
| Диаметр, мм | L, мм | D, мм | D1, мм | n | d, мм | H, мм | H1, мм | DO |
| 50 | 180 | 160 | 125 | 4 | 18 | 290 | 355 | 160 |
| 80 | 210 | 195 | 160 | 8/4 | 18 | 360 | 425 | 160 |
| 100 | 230 | 215 | 180 | 8 | 18 | 390 | 490 | 210 |
| 125 | 255 | 245 | 210 | 8 | 18 | 470 | 600 | 210 |
| 150 | 280 | 280 | 240 | 8 | 22 | 565 | 715 | 320 |
| 200 | 330 | 335 | 295 | 12 | 22 | 695 | 900 | 320 |
| 250 | 450 | 405 | 355 | 12 | 26 | 855 | 1120 | 400 |
| 300 | 500 | 460 | 410 | 12 | 26 | 1000 | 1310 | 460 |
| 400 | 600 | 580 | 525 | 16 | 30 | 1440 | 1850 | 502 |
Технические характеристики 30с41нж
- Температура рабочей среды — от -40 до +400 градусов.
- Температура окружающей среды — от -40 до +50 градусов.
- Номинальное рабочее давление — 1,6 МПа.
- Класс герметичности: А, В или С (по желанию заказчика).
- Установочное положение — любое.
- Управление — ручное, с помощью маховика.
- Скорость коррозии деталей корпуса — не выше 0,1 мм в год.
- Гарантийный срок эксплуатации — 2 года.
- Полный срок службы — не менее 10 лет.
- Количество циклов открывания/закрывания — 2 500.



