Вы здесь
Задвижка стальная клиновая 30с64нж
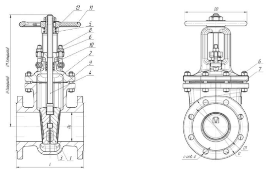
Задвижка стальная клиновая с выдвижным шпинделем фланцевая 30с64нж.
Рабочая среда для задвижки 30с64нж : вода, пар, масло, нефть, природный газ, жидкие неагрессивные нефтепродукты, неагрессивные жидкие и газообразные среды, по отношению к которым, материалы применяемые в задвижке коррозионностойкие.
Технические характеристики 30с64нж
- Температура рабочей среды: от -40°С до +450°С
- Условия эксплуатации: У1
- Тип присоединения: фланцевое
- Минимальная температура окружающего воздуха: -40°С
- Тип управления: ручное
Исполнение и материалы задвижки 30с64нж

- Корпус: сталь 25Л
- Крышка: сталь 25Л
- Клин (диски): сталь25Л
- Шпиндель: 20Х13
- Гайка шпинделя: латунь ЛС59-1
- Гайка: углеродистая сталь ГОСТ 1050-88 класс прочности не ниже 5 по ГОСТ 1759.5-87
- Шпилька, болт: углеродистая сталь ГОСТ 1050-88 класс прочности не ниже 5.6 по ГОСТ 1759.5-87
- Болт откидной: сталь 35
- Уплотнение между корпусом и крышкой (прокладка, кольцо): паронит, ТРГ
- Набивка сальника: АГИ, ТРГ
- Маховик: сталь25Л
- Наплавка на кольце в корпусе: 07Х25Н13, 08Х21Н10Г6
- Наплавка на клине: 13Х25Т, 10Х17Т
Габаритные размеры 30с64нж
| Диаметр, мм | L, мм | D, мм | D1, мм | n | d, мм | H, мм | H1, мм | DO | Масса, кг |
| 50 | 180 | 160 | 125 | 4 | 18 | 290 | 355 | 160 | 17 |
| 80 | 210 | 195 | 160 | 8 | 18 | 360 | 425 | 160 | 29 |
| 100 | 230 | 230 | 190 | 8 | 22 | 390 | 490 | 210 | 41 |
| 150 | 403 | 300 | 250 | 8 | 26 | 600 | 755 | 320 | 99 |
| 200 | 419 | 360 | 310 | 12 | 26 | 760 | 965 | 320 | 156 |
| 250 | 457 | 425 | 370 | 12 | 30 | 855 | 1120 | 400 | 260 |
| 300 | 500 | 485 | 430 | 16 | 30 | 1000 | 1310 | 460 | 355 |



