Вы здесь
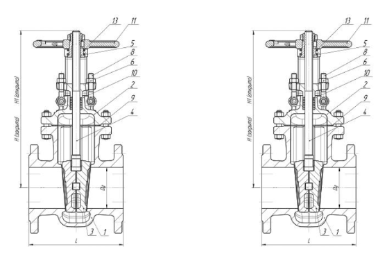
Задвижка стальная клиновая 30с941нж
Задвижка 30с941нж — вид запорной трубопроводной арматуры с возможностью применения электрического привода и дистанционного управления.
Данное устройство используется на трубопроводах для передачи воды, газа, нефти и нефтепродуктов, пара, аммиака и других рабочих сред, не разрушающих материалы, из которых изготовлена данная клиновая задвижка с выдвижным шпинделем под электродвигатель.
Технические характеристики 30с941нж
- Температура рабочей среды — от -40 до+425 градусов по Цельсию.
- Температура окружающего воздуха — от -40 до +50 градусов по Цельсию.
- Давление рабочей среды — 1,6 МПа.
- Класс по герметичности: А, В или С (по усмотрению и нуждам заказчика).
- Скорость коррозии деталей корпуса — 0,1 мм в год.
- Управление — электрический привод.
- Установочное положение — любое.
- Ресурс — не менее чем 2 500 циклов открытия/закрытия.
Исполнение и материалы задвижки 30с941нж

- Корпус: сталь 25Л
- Крышка: сталь 25Л
- Клин (диски): сталь 25Л,35Л с наплавкой, 20Х13
- Шпиндель: 20Х13
- Гайка шпинделя: сталь 35, 40Х
- Гайка: углеродистая сталь ГОСТ 1050—88 класс прочности не ниже 5 по ГОСТ 1759.5—87
- Шпилька, болт: углеродистая сталь ГОСТ 1050—88 класс прочности не ниже 5.6 по ГОСТ 1759.5—87
- Болт откидной: сталь 35
- Уплотнение между корпусом и крышкой (прокладка, кольцо): паронит, ТРГ
- Набивка сальника: АГИ, ТРГ
- Подшипник: шариковый упорный
- Наплавка на кольце в корпусе: 07Х25Н13, 08Х21Н10Г6
- Наплавка на клине: 13Х25Т, 10Х17Т
Габаритные размеры 30с941нж
| Диаметр, мм | L, мм | D, мм | D1, мм | n | d, мм | H3, мм | Масса, кг |
| 50 | 180 | 160 | 125 | 4 | 18 | 280 | 17 |
| 80 | 210 | 195 | 160 | 8/4 | 18 | 350 | 28,5 |
| 100 | 230 | 215 | 180 | 8 | 18 | 380 | 39 |
| 125 | 255 | 245 | 210 | 8 | 18 | 460 | 61 |
| 150 | 280 | 280 | 240 | 8 | 22 | 550 | 83 |
| 200 | 330 | 335 | 295 | 12 | 22 | 680 | 124 |
| 250 | 450 | 405 | 355 | 12 | 26 | 850 | 242 |
| 300 | 500 | 460 | 410 | 12 | 26 | 985 | 315 |
| 350 | 550 | 520 | 470 | 16 | 26 | 1205 | 465 |
| 400 | 600 | 580 | 525 | 16 | 30 | 1425 | 640 |
| 500 | 700 | 710 | 650 | 20 | 33 | 1545 | 1233 |
| 600 | 800 | 840 | 770 | 20 | 36/39 | 1665 | 1400 |
| 700 | 900 | 910 | 840 | 24 | 36/39 | 1855 | 2550 |
Характеристики задвижек 30с941нж для подбора электропривода
| Диаметр, мм | Тип присоединения электропривод | Момент, Н*м | Количество оборотов шпинделя |
| 50 | А | 52 | 15 |
| 80 | А | 84 | 23 |
| 100 | А | 84 | 24 |
| 150 | А,Б | 100,160 | 33 |
| 200 | Б | 160 | 43 |
| 250 | Б | 280 | 43 |
| 300 | Б | 300 | 53 |
| 400 | В | 885 | 50 |
| 500 | В, Г | 900, 1410 | 60 |
| 600 | Г | 2025 | 62 |
| 700 | Д | 3035 | 75 |



