Вы здесь
Задвижка стальная клиновая 30с964нж
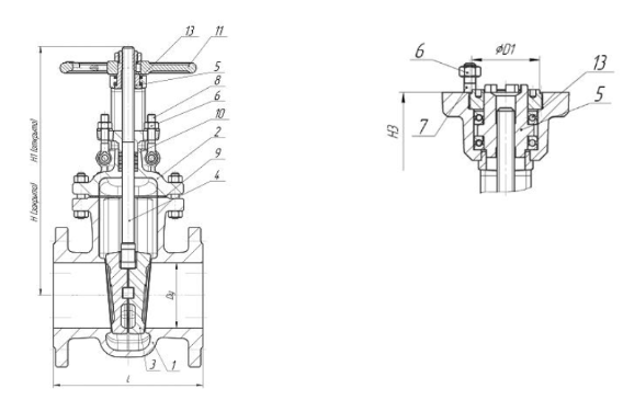
Задвижка стальная клиновая с выдвижным шпинделем фланцевая 30с964нж.
Рабочая среда для задвижки 30с964нж : вода, пар, масло, нефть, природный газ, жидкие неагрессивные нефтепродукты, неагрессивные жидкие и газообразные среды, по отношению к которым, материалы применяемые в задвижке коррозионностойкие.
Технические характеристики 30с964нж
- Температура рабочей среды: от −40°С до +450°С
- Условия эксплуатации: У1
- Минимальная температура окружающего воздуха: −40°С
- Тип управления: электропривод.
Исполнение и материалы задвижки 30с964нж

- Корпус: сталь 25Л
- Крышка: сталь 25Л
- Клин (диски): сталь 25Л
- Шпиндель: 20Х13
- Гайка шпинделя: латунь ЛС59-1
- Гайка: углеродистая сталь ГОСТ 1050—88 класс прочности не ниже 5 по ГОСТ 1759.5—87
- Шпилька, болт: углеродистая сталь ГОСТ 1050—88 класс прочности не ниже 5.6 по ГОСТ 1759.5—87
- Болт откидной: сталь 35
- Уплотнение между корпусом и крышкой (прокладка, кольцо): паронит, ТРГ
- Набивка сальника: АГИ, ТРГ
- Подшипник: шариковый упорный
- Наплавка на кольце в корпусе: 07Х25Н13, 08Х21Н10Г6
- Наплавка на клине: 13Х25Т, 10Х17Т
Габаритные размеры 30с964нж
| Диаметр, мм | L, мм | D, мм | D1, мм | n | d, мм | H3, мм | Масса, кг |
| 50 | 180 | 160 | 125 | 4 | 18 | 280 | 17 |
| 80 | 210 | 195 | 160 | 8 | 18 | 350 | 29 |
| 100 | 230 | 230 | 190 | 8 | 22 | 380 | 41 |
| 150 | 403 | 300 | 250 | 8 | 26 | 550 | 99 |
| 200 | 419 | 360 | 310 | 12 | 26 | 680 | 156 |
| 250 | 457 | 425 | 370 | 12 | 30 | 850 | 260 |
| 300 | 500 | 485 | 430 | 16 | 30 | 985 | 355 |
| 350 | 550 | 520 | 470 | 16 | 26 | 1205 | 465 |
| 400 | 600 | 610 | 550 | 16 | 33/36 | 1425 | 640 |
| 500 | 700 | 710 | 650 | 20 | 36/39 | 1545 | 1233 |
| 600 | 800 | 840 | 770 | 20 | 39 | 1665 | 1400 |
| 700 | 900 | 960 | 875 | 24 | 42/45 | 1855 | 2610 |
Характеристики задвижек 30с964нж для подбора электропривода
| Диаметр, мм | Тип присоединения электропривод | Момент, Н*м | Количество оборотов шпинделя |
| 50 | А | 52 | 15 |
| 80 | А | 84 | 23 |
| 100 | А | 100 | 24 |
| 150 | Б | 190 | 33 |
| 200 | Б | 210 | 43 |
| 250 | Б | 280 | 43 |
| 300 | Б,В | 300, 400 | 53 |
| 400 | В | 950 | 52 |
| 500 | Г | 1530 | 65 |
| 600 | Г | 2325 | 62 |
| 700 | Д | 3330 | 75 |



