Вы здесь
Клапан противопожарный PVM E 90
Предприятие Макс Аэро представляет клапан противопожарный PVM E90 с распределителем воздуха (плафоном).
Клапан огнезадерживающий PVM 90 – это единственные из сертифицированных противопожарных клапанов без асбеста в Минске, которые сертифицированы в МЧС Республики Беларусь, выполнен из материала промат. Тем самым клапаны защищают человека не только во время пожара, но и после.
Промат при соприкосновении с огнем не выделяет никаких вредных веществ. Используется PVM 90 в нормальное время как обычный распределитель воздуха (диффузор), а в случае пожара работает как клапан огнезадерживающий.
Описание клапанов PVM 90
Противопожарный клапан PVM 90 - предназначен для блокирования и распространения пожара (огня, тепла, продуктов сгорания) по каналам системы вентиляции и кондиционирования воздуха, между отдельными пожарными отсеками. Клапан имеет категорию пожаростойкости EI 90 D1 пределом огнестойкости 90 минут и может быть использован на всех ступенях пожарной безопасности.
Кроме основной пожарно-технической функции клапан противопожарный pvm может быть использован для регулирования потока воздуха в присоединенном воздуховоде или установлен самостоятельно (непосредственно в вмонтирован в стену).
Присоединенные воздуховоды должны быть изготовлены из невоспламеняющегося материала. По своим размерам, противопожарный клапан с распределителем воздуха PVM 90, предназначены для расхода воздуха от 20 до 400 м3/час.
Принцип действия клапана огнезадерживающего PVM
- Когда температура потока воздуха проходит через клапан и доходит до 72 С + 1,5 С, происходит расплавление термического предохранителя и это приводит в действие запирающее устройство.
- Тарелка (диск) клапана с помощью пружины втягивается в седло клапана и в этом положении "ЗАКРЫТО" механически фиксируется планшетным упором против открытия при произвольном обратном тепловом ударе или против действия пожара.
- Плавная регулировка потока воздуха подаваемого через клапан производится поворачиванием тарелки клапана.
Клапаны устанавливаются в защищенных от погодных условий средах класса 3К5 без дождя, конденсации, обледенения и ледообразования в соответствии со стандартами белорусских норм.
Варианты исполнения PVM
Клапаны противопожарные PVM 90 имеют четыре размера:100, 125, 160, 200 и др.
Размеры (мм), масса (кг)
Позиции:
1. Корпус клапана
2. Втулка клапана
3. Запорная тарелка
4. Термоплавкий элемент
5. Запорная пружина
6. Тарельчатая пружина-упор
7. Уплотнение
8. Уплотнение пенообразующее
Размер |
øD |
øD1 |
s |
Масса |
100 |
98 |
126 |
От 3 до 12 |
0,9 |
125 |
123 |
151 |
1,1 |
|
160 |
158 |
188 |
1,5 |
|
200 |
198 |
227 |
1,9 |
Установка, монтаж
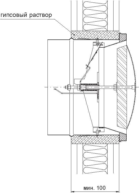
Клапаны можно устанавливать в гипсокартонной стене толщины мин. 100 мм, жесткой конструкции стены толщины мин. 100 мм, или в жесткой конструкции перекрытия толщины мин. 150 мм.
Зазор между диаметром в свету строительного отверстия и установленной втулкой клапана заполняют гипсовым раствором или гипсом. Для уплотнения отверстия под клапан в пожарной перегородке недопустимо пользоваться пенообразующими материалами.
Монтируются в стену (без присоединения к воздуховоду) и/или непосредственно присоединяются к воздуховоду (с присоединением к воздуховоду). См. рис. ниже.
Без присоединения к воздуховоду.
С присоединением к воздуховоду
Технические характеристики
Расчетные и определяющие величины
V [м3.ч-1] - объемный расход воздуха на один клапан
∆pc [ Па ] - суммарная потеря давления при ς = 1,2 кг.м-3
LWA [дБ(A)] - уровень акустической мощности
s [ мм ] - зазор между седлом и тарелкой клапана при регулировании объема воздуха.
Потери давления и уровни акустической мощности
Пример
Введенные данные:
Пожарный клапан PVM - E90 100
V = 45 м3.ч-1
s = 9 мм
График:
∆pc = 46 Па
LWA = 37 дБ(A)
Пример оформления заказа на клапаны противопожарные
Противопожарный клапан PVM - E90 100 TPM 052/05
Противопожарный клапан |
PVM - E90 |
100 |
TPM 052/05 |
модель |
размер |
технические условия (constanta) |
Материал, отделка поверхности
Втулки клапанов изготовлены из оцинкованного стального листа. Корпуса и тарелки клапанов изготовлены из стального листа и покрыты белым печным лаком оттенка RAL 9010. Запорные тарелки клапанов усилены безасбестовым негорючим материалом проматом. Прочие стальные части изготовлены из гальванически оцинкованных материалов.
Сведения относительно изделия
Фирменный щиток прикреплен к корпусу клапана и доступен после извлечения клапана из втулки.
На щитке указаны следующие сведения:
- эмблема фирмы
- название и юридический адрес фирмы
- номер технических условий
- предел огнестойкости
- модель и размер
- изготовителя
- заводской номер
- год изготовления
- сертификация
В состав поставки входят: противопожарный клапан в сборе и гарантийное свидетельство с печатью контролирующего органа.
Фирма-представитель МАКС АЭРО предоставляет на клапаны гарантию в течение 24 месяцев с даты отгрузки.
Гарантия фирмы-представителя на клапаны теряет полностью свое действие в случае любого неквалифицированного вмешательства необученных работников в запорное устройство.
Гарантия теряет также действие в случае применения клапанов в иных, не предусмотренных настоящим стандартом целях, устройствах и рабочих условиях, или вследствие механического повреждения в ходе обращения.
Техническое описание (паспорт)
Заключение МЧС на применение в Республике Беларусь страница 1
Заключение МЧС на применение в Республике Беларусь страница 2
Назад к списку